おかげさまで開設25周年GRAPHIQUEINDIA.COM 創業祭

GRAPHIQUEINDIA.COM

詳しくはこちら
マイストア マイストア 変更
  • 即日配送
  • 広告
  • 取置可能
  • 店頭受取

HOT ! スーミンページ 893581-1_1.jpg

※GRAPHIQUEINDIA.COM 限定モデル
YouTuberの皆様に商品の使い心地などをご紹介いただいております!
紹介動画はこちら

ネット販売
価格(税込)

6450

  • コメリカード番号登録、コメリカードでお支払いで
    コメリポイント : 0ポイント獲得

コメリポイントについて

購入個数を減らす
購入個数を増やす

お店で受け取る お店で受け取る
(送料無料)

受け取り店舗:

お店を選ぶ

近くの店舗を確認する

納期目安:

13時までに注文→17時までにご用意

17時までに注文→翌朝までにご用意

受け取り方法・送料について

カートに入れる

配送する 配送する

納期目安:

2025.12.14 16:28頃のお届け予定です。

決済方法が、クレジット、代金引換の場合に限ります。その他の決済方法の場合はこちらをご確認ください。

※土・日・祝日の注文の場合や在庫状況によって、商品のお届けにお時間をいただく場合がございます。

即日出荷条件について

受け取り方法・送料について

カートに入れる

欲しいものリストに追加

欲しいものリストに追加されました

スーミンページ 893581-1_1.jpgの詳細情報

893581-1_1.jpg。Spectrum Advanced Machine - Assembler pages。Sipeed FPGA Tang Primer 20K Dock/Lite 128M DDR3 Development Board。Kubota BT600 Parts BACKHOE A01000 SWING CYLINDER Parts and Diagram。レノーボテンプスシャンプー 1200ml 新品、未使用スキャルプナリッシュメント 500ml 数回使用 残量→2枚目写真参照
  • 893581-1_1.jpg
  • Spectrum Advanced Machine - Assembler pages
  • Sipeed FPGA Tang Primer 20K Dock/Lite 128M DDR3 Development Board
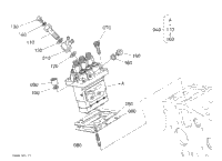
  • Kubota BT600 Parts BACKHOE A01000 SWING CYLINDER Parts and Diagram

同じカテゴリの 商品を探す

ベストセラーランキングです

このカテゴリをもっと見る

この商品を見た人はこんな商品も見ています

近くの売り場の商品

このカテゴリをもっと見る

カスタマーレビュー

オススメ度  4点

現在、5700件のレビューが投稿されています。